پاسخ : ساخت تابلو فرمان آسانسور
دوست من توی همون لینک که دادم در خصوص این سنسورها کاملا بحث شده
این سنسور ها فقط یه پلاتین هستن که با قرار گرفتن در یک میدان مغناطیسی تغییر حالت میدن
اما در مورد اهنربا ها
همونطوری که دوست خوبم شاهین جان هم گفتن این سه یا چهارتا بودن برای اینه که در هر دو جهت بالا یا پایین بشه لول رو دقیق تنظیم کرد
برای فهم دقیقتر باید بگم برای اینکه اگر یکی باشه و شما اونهارو در جهت بالا به پایین تنظیم کنید وقتی کابین در خلاف جهت حرکت میکنه کابین پنج شش سانت بالاتر از طبقه توقف خواهد کرد
تصویر زیر مبتونه خیلی برای درک این موضوع کمک کنه 1CF همان سنسور لول طبقات و CF3 همان سنسور دور انداز موتور هست

به همین سادگی :nice:
نوشته اصلی توسط Eng.M.E.A
میتونید توضیحات کاملی رو در این تاپیک بخونید مخصوصا توضیحات دوست خوبم اقای پاشایی رو
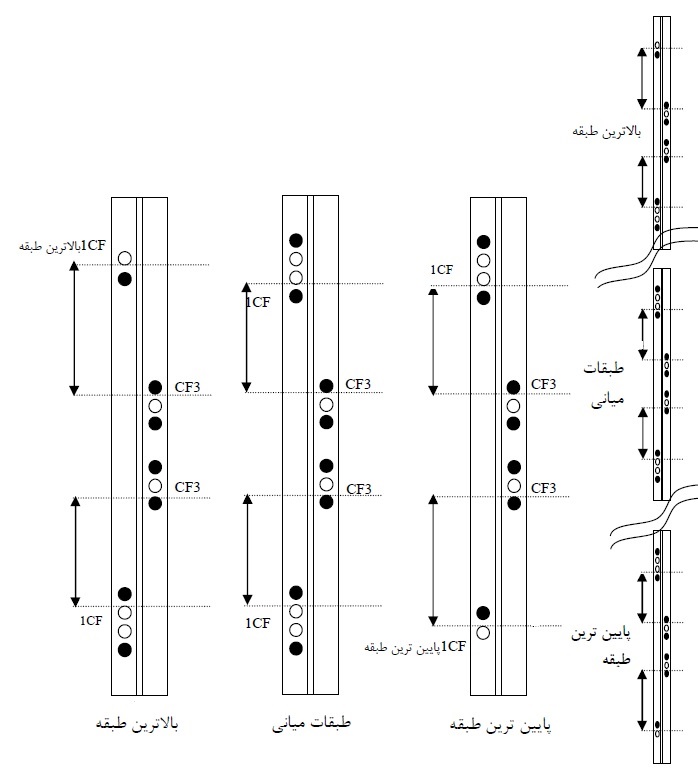
اما در مورد اهنربا ها
همونطوری که دوست خوبم شاهین جان هم گفتن این سه یا چهارتا بودن برای اینه که در هر دو جهت بالا یا پایین بشه لول رو دقیق تنظیم کرد
برای فهم دقیقتر باید بگم برای اینکه اگر یکی باشه و شما اونهارو در جهت بالا به پایین تنظیم کنید وقتی کابین در خلاف جهت حرکت میکنه کابین پنج شش سانت بالاتر از طبقه توقف خواهد کرد
تصویر زیر مبتونه خیلی برای درک این موضوع کمک کنه 1CF همان سنسور لول طبقات و CF3 همان سنسور دور انداز موتور هست

به همین سادگی :nice:






دارم:
دیدگاه